Một bằng sáng chế gợi ý về màn hình cong dạng ống của Apple được xuất hiện trên internet

Từ thế hệ iPhone thứ 8, tức là iPhone 6 trở đi, Apple đã có thay đổi trong việc chế tạo màn hình của thiết bị, với 3D Touch và màn hình được bo ở các cạnh. Các thay đổi này tuy không quá lớn, nhưng đem lại một sự tiện dụng không nhỏ cho người sử dụng.

Màn hình cong đang dần được sử dụng nhiều trên các thiết bị gần đây như TV, điện thoại, đồng hồ. Tuy nhiên Apple có vẻ khá im hơi lặng tiếng với vấn đề này và trung thành với màn hình phẳng truyền thống. Mặc dù vậy, một bằng sáng chế rò rỉ của Apple đã gợi ý về màn hình cong sẽ được sử dụng trong tương lai.
Lộ diện bằng sáng chế về thiết bị màn hình cong của Apple


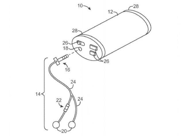
Bằng sáng chế về màn hình cong của Apple      Ảnh: Internet

Nhìn vào hình ảnh trên, chúng ta có thể thấy một thiết bị dạng thanh, với màn hình được uốn cong thành hình ống. Ngoài ra thiết bị còn có một cổng âm thanh 3.5, nút gạt im lặng đặc trưng của các sản phẩm Apple, cùng với 2 bộ phận khác có thể là nút bấm của thiết bị. Với những đặc điểm như vậy, rất có thể màn hình cong sẽ được áp dụng vào iPhone hoặc iPod thế hệ sau này.

Có rất ít khả năng màn hình cong sẽ được đưa lên thế hệ kế nhiệm iPhone 6S, hay còn được dự đoán với cái tên iPhone 7. Mà có lẽ phải tới những iPhone trong tương lai thì chúng ta mới có thể thấy được một thiết bị như vậy từ Apple.
---------------------------------------------------------------------------------------
 

APPLE CENTER - 30 NGUYỄN VĂN LINH 
TRUNG TÂM APPLE CHÍNH HẪNG TẠI ĐÀ NẴNG ( APPLE SERVICE DA NANG )

GHÉP SIM - UNLOCK - MỞ MẠNG, ICLOUD CHO IPHONE IPAD TẠI ĐÀ NẴNG
Hỗ trợ cho ( iPhone 7, 7 plus, 6s, 6s plus, 6, 6 plus, 5s .. vv )

Sửa chữa Macbook tại đà nẵng, thay thế linh kiện, macbook imac, sửa màn hình, thay pin macbook, thay ổ cứng, chân xạc ..vv  

Fix and repair, replace new hardware for macbook, iMac ( Screen , changer hardriver SSD, Battery, keybroad apple , charging, mainbroad, mouse apple ..vv )
Bài viết khác
© 2019 by APPLE CENTER. All Rights Reserved. Designed by .::Web360::.
Facebook Twitter Google + Youtube